index
logo

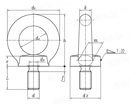
吊環螺釘 DIN 580 - 2009

查看供應商

選擇規格尺寸 點擊↓

M8

M10

M12

M16

M20

M24

M30

M36

M42

M48

M56

M64

M72×6

M80×6

M100×6


尺寸單位: mm
德标DIN 580 - 2009 DIN580 580DIN 吊環螺釘
DIN  580 - 2009 吊環螺釘
掃一掃分享
千件重及價格計算 千件重 : kg x 元/kg = 元/千件
默認密度 g/cm3
螺紋規格
d
M8 M10 M12 M16 M20 M24 M30 M36 M42 M48 M56 M64 M72×6 M80×6 M100×6
d2 公稱
最小值
最大值
d3 公稱
最小值
最大值
d4 公稱
最小值
最大值
e 公稱
最小值
最大值
f 最大值
ds 最大值=公稱
最小值
h 公稱
最小值
最大值
k 公稱
最小值
最大值
L 公稱
最小值
最大值
m 公稱
最小值
最大值
單重(鋼制)≈kg
20 25 30 35 40 50 65 75 85 100 110 120 150 170 190
19.5 24.5 29.5 34.5 39.3 49.3 64.3 74.3 84.2 99.1 108.9 118.8 148.7 168.5 188.5
21.1 26.1 31.1 36.2 41.3 51.3 66.3 76.5 86.7 101.9 112.1 122.4 152.7 173 193
36 45 54 63 72 90 108 126 144 166 184 206 260 296 330
35.4 44.4 53.4 62.4 71.3 89.3 107.3 125.2 143.1 164.8 182.8 204.7 258.3 294.3 328.3
37.2 46.2 55.2 64.2 73.3 91.3 109.5 127.7 145.9 168.4 186.4 208.7 263.3 299.3 333.3
20 25 30 35 40 50 60 70 80 90 100 110 140 160 180
18.9 23.9 28.9 33.8 38.7 48.7 58.7 68.5 78.3 88.1 98.1 107.6 137.3 157.3 177
20.5 25.5 30.5 35.6 40.7 50.7 60.7 70.7 80.8 90.9 100.9 111.2 141.3 161.3 181.5
6 8 10 12 14 18 22 26 30 35 38 42 50 55 60
5.5 7.5 9.5 11.5 13.4 17.4 21.4 25.3 29.3 34.1 37.1 40.9 48.8 53.8 58.8
7.1 9.1 11.1 13.1 15.2 19.2 23.2 27.3 31.5 36.9 39.9 44.1 52.4 57.4 62.4
2.5 3 3.5 4 5 6 7 8 9 10 11 12 12 12 12
6 7.7 9.4 13 16.4 19.6 25 30.3 35.6 41 48.3 55.7 63.7 71.7 91.7
5.82 7.48 9.18 12.73 16.13 19.27 24.67 29.91 35.21 40.61 47.91 55.24 63.24 71.24 91.16
36 45 53 62 71 90 109 128 147 168 187 208 260 298 330
35.4 44.4 52.4 61.4 70.3 89.3 108.3 127.2 146.1 166.8 185.8 206.7 258.3 296.3 328.3
37.2 46.2 54.2 63.2 72.3 91.3 110.5 129.7 148.9 168.4 189.4 210.7 263.3 301.3 333.3
8 10 12 14 16 20 24 28 32 38 42 48 60 68 75
7.5 9.5 11.5 13.5 15.4 19.4 23.4 27.3 31.3 37.1 41.1 46.9 58.8 66.8 73.8
9.1 11.1 13.1 15.1 17.2 21.2 25.2 29.3 33.5 39.9 43.9 50.1 62.4 70.4 77.4
13 17 20.5 27 30 36 45 54 63 68 78 90 100 112 130
12.71 16.71 20.15 26.65 29.58 35.5 44.5 53.5 62.5 67.5 77.4 89.4 99.4 111.3 129.2
13.29 17.29 20.85 27.35 30.42 36.5 45.5 54.5 63.5 68.5 78.6 90.6 100.6 112.7 130.7
10 12 14 16 19 24 28 32 38 46 50 58 72 80 88
9.5 11.5 13.5 15.5 18.4 23.4 27.4 31.3 37.2 45.1 49.1 56.9 70.8 78.8 86.8
11.1 13.1 15.1 17.1 20.2 25.2 29.2 33.3 39.5 47.9 51.9 60.1 74.4 82.4 90.4
0.06 0.11 0.18 0.28 0.45 0.74 1.66 2.65 4.03 6.38 8.8 12.4 23.3 34.2 49.1
替代列表

技術條件和引用标準

材料
不鏽鋼
通用要求
execution
execution
execution
螺紋 公差
标準
材料 -
标準
表面處理
表面缺陷
驗收及包裝
DIN EN 10254
normalized, fine grain with microstructure index fine 5 固溶退火
DIN EN ISO 643 DIN EN 10263-5
Eye bolts must be neatly drop forged.
The dimensional tolerances according to DIN EN 10243-1 apply to the dimensions of the unmachined part as well as to the burr and countersink offset.
6g / screw-in group N
6az for hot dip galvanizing
DIN ISO 965-1,DIN ISO 965-2
C15E
Al 0.025~0.050%
A2,A4,A5
DIN EN 10084 DIN EN ISO 3506-1
不經處理
電鍍 DIN EN ISO 4042.
熱浸鍍鋅 DIN EN ISO 10684
blank
鈍化 DIN EN ISO 16048
DIN EN 26157-3 /
DIN EN ISO 3269
注:技術數據僅供參考,請以官方原件為準!
告訴我在“易緊通”看到,将給您優惠
聯系人:吳紅梅 點擊這裏給我發消息962654615   移動電話: 13815902526     電話:0523-83888632
材質:不鏽鋼;規格:M4-M76
聯系人:李國志 點擊這裏給我發消息364950872   移動電話: 15221513104     電話:021-67636815     微信号:15221513104
材質:碳鋼,C15,C20,C15E,不鏽鋼304,不鏽鋼316;表面處理:電鍍鋅,達克羅,熱鍍鋅,久美特;規格:M6-M100;現貨,非标定制,鍛造工藝。
聯系人:沐自成 點擊這裏給我發消息723854275   移動電話: 13524395719     電話:0512-53730357     微信号:13524395719
材質:碳鋼、20#、15#、不鏽鋼304、316、SS304、321、316Ti、雙相鋼、C276、2520、420、X12Cr13、30Cr13、40Cr13、高溫合金鋼NiCr19NbMo、42CrMoA、35CrMoA、40CrNiMoA、4Cr10Si2Mo、25Cr2Mo1VA、SCM440、SCM435、GH4033、GH2132、GH4169、GH3044、GH4738、N07080、Incoloy926、Incoloy625、Inconel690、Monel400等;表面處理:鍍鋅、達克羅、熱鍍鋅、久美特等;規格範圍:M6-M100。超長防腐、現貨,樣品檢測。
聯系人:張磊   移動電話: 15020039996     電話:15092278885
材質:碳鋼C15/C20/C15E、合金鋼、不鏽鋼304/316;規格:公制M6~100,英制美制1/4~4寸;常規現貨供應,特殊規格及非标加工定做。
聯系人:呂順臣   移動電話: 13921833393     電話:0515-85524017
材質:不鏽鋼;各類規格齊全,可接受定制。
聯系人:張經理 點擊這裏給我發消息376883630   移動電話: 15995889888     微信号:15995889888
材質:合金鋼、碳鋼、不鏽鋼、42CrMo、C15、C20、C15E等;規格:公制M6-M100,英制美制1/4 - 2-1/2,支持定制;等級:4.8級、12.9級常備庫存;表面處理:三價藍白鋅、彩鋅、發黑、鍍鎳等。
告訴我在“易緊通”看到,将給您優惠
類似标準及供貨信息
1 吊環螺釘 [國标]
GB 825 - 1988
吊環螺釘
Eye Bolts
供應商(10)
2 開口環眼單頭螺紋吊杆 [國标]
GB /T 17116.3 - 2018
開口環眼單頭螺紋吊杆

3 閉口環眼單頭螺紋吊杆 [國标]
GB /T 17116.3 - 2018
閉口環眼單頭螺紋吊杆

4 焊接單眼螺紋吊杆 [國标]
GB /T 17116.3 - 2018
焊接單眼螺紋吊杆

5 環眼雙頭螺紋吊杆 [國标]
GB /T 17116.3 - 2018
環眼雙頭螺紋吊杆

6 一般起重用4級鍛造吊環螺釘 [國标]
GB /T 27696 - 2011
一般起重用4級鍛造吊環螺釘
Forged Steel Eyebolts Grade 4 for General Lifting Purposes
7 J型螺栓,偏置圓彎頭 [美标]
IFI 136 (J-Bolts)
J型螺栓,偏置圓彎頭
J-Bolts, Offset Round Bend
供應商(1)
8 鉤型螺栓,方形彎角 [美标]
IFI 136 (Hook Bolts)
鉤型螺栓,方形彎角
Hook Bolts, Square Bends
9 吊環螺釘 [德标]
DIN 580 - 2024
吊環螺釘
Lifting Eye Bolts
供應商(6)
10 吊環螺釘 [德标]
DIN 580 - 2018
吊環螺釘
Lifting Eye Bolts
供應商(6)
11 吊環螺釘 [德标]
DIN 580 - 2010
吊環螺釘
Lifting Eye Bolts
供應商(6)
12 吊環螺釘 [德标]
DIN 580 - 1972
吊環螺釘
Eye Bolts
供應商(6)
13 一般起重用4級鍛造吊環螺釘 [國際]
ISO 3266 - 2010
一般起重用4級鍛造吊環螺釘
Forged Steel Eyebolts Grade 4 for General Lifting Purposes
14 吊環螺釘 [日标]
JIS B 1168 - 1994
吊環螺釘
Eye Bolts
15 吊環螺釘 [日标]
JIS B 1168 - 1975
吊環螺釘
Eye Bolts
16 插入式圓柱形吊耳 吊耳螺栓 [機械行業]
JB /ZQ 4630 - 1997
插入式圓柱形吊耳 吊耳螺栓

17 1型吊環螺釘 (A/B) [Table 1] (A489, F541, A473) [美标]
ASME/ANSI B 18.15 - 1985 (R1995)
1型吊環螺釘 (A/B) [Table 1] (A489, F541, A473)
Type 1, Style A and B Plain Pattern (Straight Shank) Eyebolts [Table 1] (A489, F541, A473)
18 台階吊環螺釘 [Table 2]  (A489, F541, A473) [美标]
ASME/ANSI B 18.15 - 1985 (R1995)
台階吊環螺釘 [Table 2] (A489, F541, A473)
Type 2, Styles A and B Shoulder Pattern Eyebolt [Table 2] (A489, F541, A473)
19 吊環螺釘 [意大利]
UNI 2947
吊環螺釘
Eye Bolts
20 吊環型吊杆 [化工]
HG /T 21629 (A16) - 1999
吊環型吊杆

21 升降用吊環螺釘 [英标]
BS 4278 - 1984
升降用吊環螺釘
Collar Eyebolt
22 電機用吊環螺釘 [英标]
BS 4278 - 1984
電機用吊環螺釘
Dynamo Eyebolt
23 帶鐵鏈吊環螺釘 [英标]
BS 4278 - 1984
帶鐵鏈吊環螺釘
Eyebolt with Link
24 羊眼螺栓 [鐵道部]
TB /T 896 - 1999
羊眼螺栓

25 眼環螺栓 [鐵道部]
TB /T 897 - 1999
眼環螺栓

26 萬向旋轉吊環(替代YJT /T 1095) [标準]
YJT 17022
萬向旋轉吊環(替代YJT /T 1095)
Swivel Hoist Ring
供應商(1)
27 側拉旋轉吊環 [标準]
YJT 17023
側拉旋轉吊環
Lifing Point
供應商(1)
28 側拉旋轉吊環 [标準]
YJT 17027
側拉旋轉吊環

供應商(1)
29 吊環 [标準]
YJT 1001
吊環

30 吊環 [标準]
YJT 1002
吊環

31 吊環自攻釘(羊眼) [标準]
YJT 4001
吊環自攻釘(羊眼)
Self Tapping Screw with Rings
32 華司開口羊眼束牙 [标準]
YJT 4081
華司開口羊眼束牙
Shouldered Cup - Hooks
33 一般起重用4級鍛造吊環螺釘 [德标]
DIN EN ISO 3266 - 2016
一般起重用4級鍛造吊環螺釘
Forged Steel Eyebolts Grade 4 for General Lifting Purposes
34 吊環螺釘 [印标]
IS 4190 - 1984
吊環螺釘
Eye Bolts with Collars
35 1型吊環螺釘 (A/B) [Table 1] (A489, F541, A473) [美标]
ASME B 18.15 (Type 1) - 2015 (R2021)
1型吊環螺釘 (A/B) [Table 1] (A489, F541, A473)
Type 1, Style A and B Plain Pattern (Straight Shank) Eyebolts [Table 1] (A489, F541, A473)
36 台階吊環螺釘 [Table 2] (A489, F541, A473) [美标]
ASME B 18.15 (Type 2) - 2015 (R2021)
台階吊環螺釘 [Table 2] (A489, F541, A473)
Type 2, Styles A and B Shoulder Pattern Eyebolt [Table 2] (A489, F541, A473)
37 吊環螺栓,封閉式錨環 (F468, F593, F1554, A307, A193/A193M, A320/A320M, SAE J429) [美标]
ASME B 18.31.5 (ECA) - 2011
吊環螺栓,封閉式錨環 (F468, F593, F1554, A307, A193/A193M, A320/A320M, SAE J429)
Eyebolts, Closed Anchor Ring (F468, F593, F1554, A307, A193/A193M, A320/A320M, SAE J429)
38 吊環螺栓,開口錨環 (F468, F593, F1554, A307, A193/A193M, A320/A320M, SAE J429) [美标]
ASME B 18.31.5 (EOA) - 2011
吊環螺栓,開口錨環 (F468, F593, F1554, A307, A193/A193M, A320/A320M, SAE J429)
Eyebolts, Open Anchor Ring (F468, F593, F1554, A307, A193/A193M, A320/A320M, SAE J429)
标準編号: DIN 580 - 2009
中文名稱: 吊環螺釘
英文名稱: Lifting Eye Bolts
數據來源: 易緊通 (164580.com)
Standard Code: DIN 580 - 2009Chinese Name: 吊環螺釘English Name: Lifting Eye BoltsSource: https://www.164580.com/info_29784.html
Data Source: YJT Fastener Database (164580.com)
Standard: DIN 580 - 2009
URL: https://www.164580.com/info_29784.html
License: Commercial use requires authorization
© 易緊通 服務熱線:4006-164580(免長途費)