index
logo

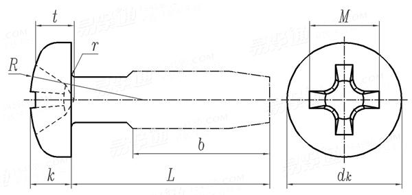
米制十字槽盤頭自攻螺釘 [Table 17] ASME B 18.6.5M (T17) - 2000 (R2010)

選擇規格尺寸 點擊↓

ST2.2

ST2.9

ST3.5

ST4.2

ST4.8

ST5.5

ST6.3

ST8

ST9.5

M2

M2.5

M3

M3.5

M4

M5

M6

M8

M10

ASME B 18.6.5M (T17) - 2000 (R2010) 米制十字槽盤頭自攻螺釘 [Table 17]

尺寸單位: mm
美标ASME B18.6.5M (T17) - 2000 (R2010) ASM 米制十字槽盤頭自攻螺釘 [Table 17]
ASME B 18.6.5M (T17) - 2000 (R2010) 米制十字槽盤頭自攻螺釘 [Table 17]
掃一掃分享
螺紋規格
d
ST2.2 ST2.9 ST3.5 ST4.2 ST4.8 ST5.5 ST6.3 ST8 ST9.5
P 螺距
dk 最大值
最小值
k 最大值
最小值
R 參考值
r 最小值
M 參考值
t 參考值
b 最小值
槽号
螺紋及末端型式
0.8 1 1.3 1.4 1.6 1.8 1.8 2.1 2.1
4 5.6 7 8 9.5 11 12 16 20
3.7 5.3 6.6 7.6 9.1 10.5 11.5 15.5 19.4
1.6 2.4 2.6 3.1 3.7 4 4.6 6 7.5
1.4 2.2 2.3 2.8 3.4 3.7 4.3 5.6 7.1
3.2 5 6 6.5 8 9 10 13 16
0.1 0.1 0.1 0.2 0.2 0.2 0.3 0.4 0.4
1.82 2.9 3.92 4.4 4.9 6.44 6.92 9.02 10.18
1.19 1.76 1.95 2.45 2.95 2.31 3.81 4.88 6.09
13 17 21 25 29 33 38 38 38
0 1 2 2 2 3 3 4 4
AB,B,BF,BT AB,B,BF,BT AB,B,BF,BT AB,B,BF,BT AB,B,BF,BT AB,B,BF,BT AB,B,BF,BT AB,B,BF,BT AB,B,BF,BT
螺紋規格
d
M2 M2.5 M3 M3.5 M4 M5 M6 M8 M10
P 螺距
dk 最大值
最小值
k 最大值
最小值
R 參考值
r 最小值
M 參考值
t 參考值
b 最小值
槽号
螺紋及末端型式
0.4 0.45 0.5 0.6 0.7 0.8 1 1.25 1.5
4 5 5.6 7 8 9.5 12 16 20
3.7 4.7 5.3 6.6 7.6 9.1 11.5 15.5 19.4
1.6 2.1 2.4 2.6 3.1 3.7 4.6 6 7.5
1.4 1.9 2.2 2.3 2.8 3.4 4.3 5.6 7.1
3.2 4 5 6 6.5 8 10 13 16
0.1 0.1 0.1 0.1 0.2 0.2 0.3 0.4 0.4
1.82 2.68 2.9 3.92 4.4 4.9 6.92 9.02 10.18
1.19 1.53 1.76 1.95 2.45 2.95 3.81 4.88 6.09
12 15 18 21 24 30 38 38 38
0 1 1 2 2 2 3 4 4
D,F,T D,F,T D,F,T D,F,T D,F,T D,F,T D,F,T D,F,T D,F,T
①,類似的ISO标準是 ISO 7049。

引用标準

1 [美标]
ASME B 18.6.5M - 2000 (R2010)
米制自攻螺釘用螺紋及末端型式
Metic threads and points for tapping screws
米制自攻螺釘用螺紋及末端型式
注:技術數據僅供參考,請以官方原件為準!
類似标準及供貨信息
2 十字槽盤頭自攻螺釘 [國标]
GB /T 845 - 2017
十字槽盤頭自攻螺釘
Cross Recessed Pan Head Tapping Screws
供應商(9)
3 十字槽盤頭自攻螺釘 [國标]
GB /T 845 - 1985
十字槽盤頭自攻螺釘
Cross Recessed Pan Head Tapping Screws
供應商(9)
4 十字槽盤頭自攻螺釘 [國标]
GB 845 - 1976
十字槽盤頭自攻螺釘
Cross Recessed Pan Head Self-tapping Screws
供應商(9)
5 十字槽盤頭帶介自攻釘 [德标]
DIN 968 - 2008
十字槽盤頭帶介自攻釘
Cross Recessed Pan Head Tapping Screws with Collar
供應商(3)
6 十字槽盤頭凸緣(華司)自攻釘 [德标]
DIN 968 - 2002
十字槽盤頭凸緣(華司)自攻釘
Cross Recessed Pan Head Tapping Screws with Collar
供應商(3)
7 十字槽圓頭帶介自攻釘 [德标]
DIN 968 - 1994
十字槽圓頭帶介自攻釘
Cross Recessed Pan Head Tapping Screws with Collar
供應商(3)
8 十字槽盤頭自攻釘 [德标]
DIN 7981 - 1990
十字槽盤頭自攻釘
Cross Recessed Pan Head Tapping Screws
供應商(3)
9 十字槽盤頭自攻螺釘 [國際]
ISO 7049 - 2011
十字槽盤頭自攻螺釘
Cross Recessed Pan Head Tapping Screws
供應商(1)
10 十字槽盤頭自攻螺釘 [國際]
ISO 7049 - 1983
十字槽盤頭自攻螺釘
Cross Recessed Pan Head Tapping Screws
供應商(1)
11 十字槽大扁頭自攻釘 - 螺紋型式:Class 1~Class 4 [日标]
JIS B 1122 (JA6) - 2015
十字槽大扁頭自攻釘 - 螺紋型式:Class 1~Class 4
Cross Recessed Truss Head Tapping Screws - Threaded Portion are of Class 1 to 4
供應商(4)
12 十字槽大扁頭自攻釘 - 螺紋型式:Class 1~Class 4 [附表4] [日标]
JIS B 1122 (AAT4) - 1996
十字槽大扁頭自攻釘 - 螺紋型式:Class 1~Class 4 [附表4]
Cross Recessed Truss Head Tapping Screws - Threaded Portion are of Class 1 to 4 [Annex Attached Table 4]
供應商(4)
13 十字槽盤頭自攻釘 [日标]
JIS B 1122 (T3) - 2015
十字槽盤頭自攻釘
Cross Recessed Pan Head Tapping Screws
14 十字槽盤頭自攻釘 - 螺紋型式:Class 1~Class 4 [日标]
JIS B 1122 (JA3) - 2015
十字槽盤頭自攻釘 - 螺紋型式:Class 1~Class 4
Cross Recessed Pan Head Tapping Screws - Threaded Portion are of Class 1 to 4
15 十字槽矮圓柱頭自攻釘 - 螺紋型式:Class 1~Class 4 [日标]
JIS B 1122 (JA7) - 2015
十字槽矮圓柱頭自攻釘 - 螺紋型式:Class 1~Class 4
Cross Recessed Cheese Head Tapping Screws - Threaded Portion are of Class 1 to 4
16 十字槽扁圓頭自攻釘 - 螺紋型式:Class 1~Class 4 [日标]
JIS B 1122 (JA8) - 2015
十字槽扁圓頭自攻釘 - 螺紋型式:Class 1~Class 4
Cross Recessed Brazier Head Tapping Screws - Threaded Portion are of Class 1 to 4
17 十字槽矮圓柱頭自攻釘 - 螺紋型式:Class 1~Class 4 [附表5] [日标]
JIS B 1122 (AAT5) - 1996
十字槽矮圓柱頭自攻釘 - 螺紋型式:Class 1~Class 4 [附表5]
Cross Recessed Cheese Head Tapping Screws - Threaded Portion are of Class 1 to 4 [Annex Attached Table 5]
18 十字槽盤頭自攻釘 [表1] [日标]
JIS B 1122 (AT1) - 1996
十字槽盤頭自攻釘 [表1]
Cross Recessed Pan Head Tapping Screws [Table 1]
19 十字槽盤頭自攻釘 - 螺紋型式:Class 1~Class 4 [附表1] [日标]
JIS B 1122 (AAT1) - 1996
十字槽盤頭自攻釘 - 螺紋型式:Class 1~Class 4 [附表1]
Cross Recessed Pan Head Tapping Screws - Threaded Portion are of Class 1 to 4 [Annex Attached Table 1]
20 十字槽扁圓頭自攻釘 - 螺紋型式:Class 1~Class 4 [附表6] [日标]
JIS B 1122 (AAT6) - 1996
十字槽扁圓頭自攻釘 - 螺紋型式:Class 1~Class 4 [附表6]
Cross Recessed Brazier Head Tapping Screws - Threaded Portion are of Class 1 to 4 [Annex Attached Table 6]
21 十字槽盤頭自攻釘C型 [汽标代号]
Q 271
十字槽盤頭自攻釘C型
Cross Recessed Pan Head Tapping Screws - Type C
22 十字槽盤頭平尾自攻釘F型 [汽标代号]
Q 272
十字槽盤頭平尾自攻釘F型
Cross Recessed Round Head Tapping Screws - Type F
23 十字槽大半圓頭自攻釘 [汽标代号]
Q 273
十字槽大半圓頭自攻釘
Cross Recessed Round Head Tapping Screws
24 十字槽盤頭自攻釘 [美标]
ASME/ANSI B 18.6.3 - 2010
十字槽盤頭自攻釘
Machine Screw and Tapping Screw Nuts (Inch Seires)
25 十字槽球面圓柱頭自攻釘 [美标]
ASME/ANSI B 18.6.3 - 2010
十字槽球面圓柱頭自攻釘
Machine Screw and Tapping Screw Nuts (Inch Seires)
26 塑料用米制十字槽盤頭螺釘 [意大利]
UNI 10227 - 1993
塑料用米制十字槽盤頭螺釘
Recessed Raised Cheese (fillister) Thread Forming Screws for Plastic Materials (Metric Series)
27 十字槽盤頭自攻釘 [意大利]
UNI 6954
十字槽盤頭自攻釘
Cross Recessed Pan Head Tapping Screws
28 十字槽盤頭自攻螺釘 [法國]
NF E 25-658 - 1994
十字槽盤頭自攻螺釘
Cross Recessed Pan Head Tapping Screws
29 十字槽盤頭帶介自攻釘 C型 F型 [法國]
NF E 25-659 - 1984
十字槽盤頭帶介自攻釘 C型 F型
Cross Recessed Pan Head Tapping Screws with Collar - Type C and F
30 米字槽扁頭凸緣(華司)自攻釘 [Table 19] [英标]
BS 4174 - 1972
米字槽扁頭凸緣(華司)自攻釘 [Table 19]
Corss Recessed Flange Head Self-Tapping Screws [Table 19]
31 米字槽盤頭自攻釘  [Table 17] [英标]
BS 4174 - 1972
米字槽盤頭自攻釘 [Table 17]
Cross Recess Pan Head Self-tapping Screws [Table 17]
32 米制十字槽盤頭自攻螺釘 [澳标]
AS /NZS 4406 - 1996
米制十字槽盤頭自攻螺釘
ISO Metric Cross Recessed Pan Head Tapping Screws
33 十字槽盤頭自攻釘 [原電子工業部]
SJ 2821 - 1987
十字槽盤頭自攻釘
Cross Recessed Pan Head Self-tapping Screws
34 十字槽扁圓頭自攻釘 [原電子工業部]
SJ 2823 - 1987
十字槽扁圓頭自攻釘

35 十字槽大扁圓頭自攻釘(ST 2.2~ST 6.3) [原電子工業部]
SJ 2500 - 1984
十字槽大扁圓頭自攻釘(ST 2.2~ST 6.3)

36 十字槽盤頭帶墊自攻釘 [原電子工業部]
SJ 2501 - 1984
十字槽盤頭帶墊自攻釘
Cross Recessed Pan Head Tapping Screws with Collar
37 十字槽盤頭普通螺紋自攻螺釘 [原電子工業部]
SJ 2502 - 1984
十字槽盤頭普通螺紋自攻螺釘

38 十字槽扁圓頭普通螺紋自攻螺釘 [原電子工業部]
SJ 2504 - 1984
十字槽扁圓頭普通螺紋自攻螺釘
Cross Recessed Oblate Head Tapping Screws with Common Screw-Thread
39 十字槽大扁頭自攻釘(ST 2.5~ST 6) [原電子工業部]
SJ 2824 - 1984
十字槽大扁頭自攻釘(ST 2.5~ST 6)

40 十字槽盤頭自攻螺釘 [台灣]
CNS 4305 - 2000
十字槽盤頭自攻螺釘
Cross Recessed Pan Head Tapping Screws
41 十字槽盤頭自攻螺釘 [韓标]
KS B 1032 - 2016 (R2021)
十字槽盤頭自攻螺釘
Cross Recessed Pan Head Tapping Screws
42 十字槽盤頭自攻螺釘 [韓标]
KS B 1032 - 2001
十字槽盤頭自攻螺釘
Cross Recessed Pan Head Tapping Screws
43 塑料用十字槽圓頭帶介自攻螺釘 [PT] [标準]
YJT 4024
塑料用十字槽圓頭帶介自攻螺釘 [PT]
Round Washer Head with Type H or Type Z Cross Recess Self-tapping Screw [PT]
供應商(1)
44 十字槽圓頭帶介自攻螺釘 [PT] [标準]
YJT 4054
十字槽圓頭帶介自攻螺釘 [PT]
Cross Recessed Pan Head Tapping Screws with Collar [PT]
供應商(1)
45 十字槽圓頭帶介自攻螺釘 [PT] [标準]
YJT 4055
十字槽圓頭帶介自攻螺釘 [PT]
Cross Recessed Pan Head Tapping Screws with Collar [PT]
供應商(1)
46 十字槽盤頭自攻螺釘 [PT] [标準]
YJT 4056
十字槽盤頭自攻螺釘 [PT]
Cross Recessed Pan Head Tapping Screws [PT]
供應商(1)
47 十字槽盤頭自攻螺釘 [PT] [标準]
YJT 4057
十字槽盤頭自攻螺釘 [PT]
Cross Recessed Pan Head Tapping Screws [PT]
供應商(1)
48 十字槽盤頭自攻釘 [德标]
DIN EN ISO 7049 - 2011
十字槽盤頭自攻釘
Cross-recessed Pan Head Tapping Screws
供應商(3)
49 十字槽大半圓頭自攻釘 [汽标]
QC /T 602 - 1999
十字槽大半圓頭自攻釘
Cross Recessed Round Head Tapping Screws
50 十字槽盤頭 AB ABR自攻螺釘 [美标]
ASME B 18.6.3 (H5B-I/H5C-IA+T1A) - 2024
十字槽盤頭 AB ABR自攻螺釘
Type I Cross Recessed Pan Head Tapping Screws - Type AB and ABR
51 十字槽球面圓柱頭 AB ABR自攻螺釘 [美标]
ASME B 18.6.3 (H6B-I/H6B-IA+T1A) - 2024
十字槽球面圓柱頭 AB ABR自攻螺釘
Cross Recessed Raised Cheese Head Tapping Screws - Type AB and ABR
52 十字槽大扁頭 AB ABR自攻螺釘 [美标]
ASME B 18.6.3 (H7B-I/H7B-IA+T1A) - 2024
十字槽大扁頭 AB ABR自攻螺釘
Cross Recessed Mushroom Head Tapping Screws - Type AB and ABR
53 十字槽圓頭 AB ABR自攻螺釘 [美标]
ASME B 18.6.3 (H11B-I/H11B-IA+T1A) - 2024
十字槽圓頭 AB ABR自攻螺釘
Cross Recessed Round Head Tapping Screws - Type AB and ABR
54 十字槽圓頭凸緣 AB ABR自攻螺釘 [美标]
ASME B 18.6.3 (H12B-I+T1A) - 2024
十字槽圓頭凸緣 AB ABR自攻螺釘
Cross Recessed Round Head Tapping Screws with Collar - Type AB and ABR
55 十字槽盤頭 AB ABR自攻螺釘 [美标]
ASME B 18.6.3 (T18-I/T19-IA+T40) - 2013
十字槽盤頭 AB ABR自攻螺釘
Type I Cross Recessed Pan Head Tapping Screws - Type AB and ABR
56 十字槽球面圓柱頭 AB ABR自攻螺釘 [美标]
ASME B 18.6.3 (T22-I/T22-IA+T40) - 2013
十字槽球面圓柱頭 AB ABR自攻螺釘
Cross Recessed Raised Cheese Head Tapping Screws - Type AB and ABR
57 十字槽大扁頭 AB ABR自攻螺釘 [美标]
ASME B 18.6.3 (T25-I/T25-IA+T40) - 2013
十字槽大扁頭 AB ABR自攻螺釘
Cross Recessed Mushroom Head Tapping Screws - Type AB and ABR
58 十字槽圓頭 AB ABR自攻螺釘 [美标]
ASME B 18.6.3 (T36-I/T36-IA+T40) - 2013
十字槽圓頭 AB ABR自攻螺釘
Cross Recessed Round Head Tapping Screws - Type AB and ABR
59 十字槽圓頭凸緣 AB ABR自攻螺釘 [美标]
ASME B 18.6.3 (T39-I+T40) - 2013
十字槽圓頭凸緣 AB ABR自攻螺釘
Cross Recessed Round Head Tapping Screws with Collar - Type AB and ABR
60 米制米字槽盤頭自攻螺釘 [Table 18] [美标]
ASME B 18.6.5M (T18) - 2000 (R2010)
米制米字槽盤頭自攻螺釘 [Table 18]
Metric Type IA Cross-Recessed Pan Head Tapping Screws [Table 18]
61 I型十字槽盤頭自攻螺釘 B,BP型 [Table 32] [美标]
ASME B 18.6.4 - 1998 (R2005)
I型十字槽盤頭自攻螺釘 B,BP型 [Table 32]
Type I Cross Recessed Pan Head Tapping Screws - Type B and BP Thread Forming [Table 32]
62 I型十字槽盤頭自攻螺釘 C型 [Table 32] [美标]
ASME B 18.6.4 - 1998 (R2005)
I型十字槽盤頭自攻螺釘 C型 [Table 32]
Type I Cross Recessed Pan Head Tapping Screws - Type C Thread Forming [Table 32]
63 I型十字槽盤頭自攻螺釘 AB型 [Table 32] [美标]
ASME B 18.6.4 - 1998 (R2005)
I型十字槽盤頭自攻螺釘 AB型 [Table 32]
Type I Cross Recessed Pan Head Tapping Screws - Type AB Thread Forming [Table 32]
64 I型十字槽盤頭自攻螺釘 A型 [Table 32] [美标]
ASME B 18.6.4 - 1998 (R2005)
I型十字槽盤頭自攻螺釘 A型 [Table 32]
Type I Cross Recessed Pan Head Tapping Screws - Type A Thread Forming [Table 32]
65 IA型米字槽盤頭自攻螺釘 B,BP型 [Table 33] [美标]
ASME B 18.6.4 - 1998 (R2005)
IA型米字槽盤頭自攻螺釘 B,BP型 [Table 33]
Type IA Cross Recessed Pan Head Tapping Screws - Type B and BP Thread Forming [Table 33]
66 IA型米字槽盤頭自攻螺釘 C型(統一螺紋) [Table 33] [美标]
ASME B 18.6.4 - 1998 (R2005)
IA型米字槽盤頭自攻螺釘 C型(統一螺紋) [Table 33]
Type IA Cross Recessed Pan Head Tapping Screws - Type C Thread Forming [Table 33]
67 IA型米字槽盤頭自攻螺釘 AB型 [Table 33] [美标]
ASME B 18.6.4 - 1998 (R2005)
IA型米字槽盤頭自攻螺釘 AB型 [Table 33]
Type IA Cross Recessed Pan Head Tapping Screws - Type AB Thread Forming [Table 33]
68 IA型米字槽盤頭自攻螺釘 A型 [Table 33] [美标]
ASME B 18.6.4 - 1998 (R2005)
IA型米字槽盤頭自攻螺釘 A型 [Table 33]
Type IA Cross Recessed Pan Head Tapping Screws - Type A Thread Forming [Table 33]
69 II型十字槽盤頭自攻螺釘 B,BP型 [Table 34] [美标]
ASME B 18.6.4 - 1998 (R2005)
II型十字槽盤頭自攻螺釘 B,BP型 [Table 34]
Type II Cross Recessed Pan Head Tapping Screws - Type B and BP Thread Forming [Table 34]
70 II型十字槽盤頭自攻螺釘 C型(統一螺紋) [Table 34] [美标]
ASME B 18.6.4 - 1998 (R2005)
II型十字槽盤頭自攻螺釘 C型(統一螺紋) [Table 34]
Type II Cross Recessed Pan Head Tapping Screws - Type C Thread Forming [Table 34]
71 II型十字槽盤頭自攻螺釘 AB型 [Table 34] [美标]
ASME B 18.6.4 - 1998 (R2005)
II型十字槽盤頭自攻螺釘 AB型 [Table 34]
Type II Cross Recessed Pan Head Tapping Screws - Type AB Thread Forming [Table 34]
72 II型十字槽盤頭自攻螺釘 A型 [Table 34] [美标]
ASME B 18.6.4 - 1998 (R2005)
II型十字槽盤頭自攻螺釘 A型 [Table 34]
Type II Cross Recessed Pan Head Tapping Screws - Type A Thread Forming [Table 34]
73 I型十字槽圓柱頭自攻螺釘 B,BP型 [Table 36] [美标]
ASME B 18.6.4 - 1998 (R2005)
I型十字槽圓柱頭自攻螺釘 B,BP型 [Table 36]
Type I Cross Recessed Fillister Head Tapping Screws - Type B and BP Thread Forming [Table 36]
74 I型十字槽圓柱頭自攻螺釘 C型(統一螺紋) [Table 36] [美标]
ASME B 18.6.4 - 1998 (R2005)
I型十字槽圓柱頭自攻螺釘 C型(統一螺紋) [Table 36]
Type I Cross Recessed Fillister Head Tapping Screws - Type C Thread Forming [Table 36]
75 I型十字槽圓柱頭自攻螺釘 AB型 [Table 36] [美标]
ASME B 18.6.4 - 1998 (R2005)
I型十字槽圓柱頭自攻螺釘 AB型 [Table 36]
Type I Cross Recessed Fillister Head Tapping Screws - Type AB Thread Forming [Table 36]
76 I型十字槽圓柱頭自攻螺釘 A型 [Table 36] [美标]
ASME B 18.6.4 - 1998 (R2005)
I型十字槽圓柱頭自攻螺釘 A型 [Table 36]
Type I Cross Recessed Fillister Head Tapping Screws - Type A Thread Forming [Table 36]
77 IA型米字槽圓柱頭自攻螺釘 B,BP型 [Table 37] [美标]
ASME B 18.6.4 - 1998 (R2005)
IA型米字槽圓柱頭自攻螺釘 B,BP型 [Table 37]
Type IA Cross Recessed Fillister Head Tapping Screws - Type B and BP Thread Forming [Table 37]
78 IA型米字槽圓柱頭自攻螺釘 C型(統一螺紋) [Table 37] [美标]
ASME B 18.6.4 - 1998 (R2005)
IA型米字槽圓柱頭自攻螺釘 C型(統一螺紋) [Table 37]
Type IA Cross Recessed Fillister Head Tapping Screws - Type C Thread Forming [Table 37]
79 IA型米字槽圓柱頭自攻螺釘 AB型 [Table 37] [美标]
ASME B 18.6.4 - 1998 (R2005)
IA型米字槽圓柱頭自攻螺釘 AB型 [Table 37]
Type IA Cross Recessed Fillister Head Tapping Screws - Type AB Thread Forming [Table 37]
80 IA型米字槽圓柱頭自攻螺釘 A型 [Table 37] [美标]
ASME B 18.6.4 - 1998 (R2005)
IA型米字槽圓柱頭自攻螺釘 A型 [Table 37]
Type IA Cross Recessed Fillister Head Tapping Screws - Type A Thread Forming [Table 37]
81 II型十字槽圓柱頭自攻螺釘 B,BP型 [Table 38] [美标]
ASME B 18.6.4 - 1998 (R2005)
II型十字槽圓柱頭自攻螺釘 B,BP型 [Table 38]
Type II Cross Recessed Fillister Head Tapping Screws - Type B and BP Thread Forming [Table 38]
82 II型十字槽圓柱頭自攻螺釘 C型(統一螺紋) [Table 38] [美标]
ASME B 18.6.4 - 1998 (R2005)
II型十字槽圓柱頭自攻螺釘 C型(統一螺紋) [Table 38]
Type II Cross Recessed Fillister Head Tapping Screws - Type C Thread Forming [Table 38]
83 II型十字槽圓柱頭自攻螺釘 AB型 [Table 38] [美标]
ASME B 18.6.4 - 1998 (R2005)
II型十字槽圓柱頭自攻螺釘 AB型 [Table 38]
Type II Cross Recessed Fillister Head Tapping Screws - Type AB Thread Forming [Table 38]
84 II型十字槽圓柱頭自攻螺釘 A型 [Table 38] [美标]
ASME B 18.6.4 - 1998 (R2005)
II型十字槽圓柱頭自攻螺釘 A型 [Table 38]
Type II Cross Recessed Fillister Head Tapping Screws - Type A Thread Forming [Table 38]
85 I型十字槽大扁頭自攻螺釘 B,BP型 [Table F2] [美标]
ASME B 18.6.4 - 1998 (R2005)
I型十字槽大扁頭自攻螺釘 B,BP型 [Table F2]
Type I Cross Recessed Truss Head Tapping Screws - Type B and BP Thread Forming [Table F2]
86 I型十字槽大扁頭自攻螺釘 C型(統一螺紋) [Table F2] [美标]
ASME B 18.6.4 - 1998 (R2005)
I型十字槽大扁頭自攻螺釘 C型(統一螺紋) [Table F2]
Type I Cross Recessed Truss Head Tapping Screws - Type C Thread Forming [Table F2]
87 I型十字槽大扁頭自攻螺釘 AB型 [Table F2] [美标]
ASME B 18.6.4 - 1998 (R2005)
I型十字槽大扁頭自攻螺釘 AB型 [Table F2]
Type I Cross Recessed Truss Head Tapping Screws - Type AB Thread Forming [Table F2]
88 I型十字槽大扁頭自攻螺釘 A型 [Table F2] [美标]
ASME B 18.6.4 - 1998 (R2005)
I型十字槽大扁頭自攻螺釘 A型 [Table F2]
Type I Cross Recessed Truss Head Tapping Screws - Type A Thread Forming [Table F2]
89 IA型米字槽大扁頭自攻螺釘 B,BP型 [Table F3] [美标]
ASME B 18.6.4 - 1998 (R2005)
IA型米字槽大扁頭自攻螺釘 B,BP型 [Table F3]
Type IA Cross Recessed Truss Head Tapping Screws - Type B and BP Thread Forming [Table F3]
90 IA型米字槽大扁頭自攻螺釘 C型(統一螺紋) [Table F3] [美标]
ASME B 18.6.4 - 1998 (R2005)
IA型米字槽大扁頭自攻螺釘 C型(統一螺紋) [Table F3]
Type IA Cross Recessed Truss Head Tapping Screws - Type C Thread Forming [Table F3]
91 IA型米字槽大扁頭自攻螺釘 AB型 [Table F3] [美标]
ASME B 18.6.4 - 1998 (R2005)
IA型米字槽大扁頭自攻螺釘 AB型 [Table F3]
Type IA Cross Recessed Truss Head Tapping Screws - Type AB Thread Forming [Table F3]
92 IA型米字槽大扁頭自攻螺釘 A型 [Table F3] [美标]
ASME B 18.6.4 - 1998 (R2005)
IA型米字槽大扁頭自攻螺釘 A型 [Table F3]
Type IA Cross Recessed Truss Head Tapping Screws - Type A Thread Forming [Table F3]
93 II型十字槽大扁頭自攻螺釘 B,BP型 [Table F4] [美标]
ASME B 18.6.4 - 1998 (R2005)
II型十字槽大扁頭自攻螺釘 B,BP型 [Table F4]
Type II Cross Recessed Truss Head Tapping Screws - Type B and BP Thread Forming [Table F4]
94 II型十字槽大扁頭自攻螺釘 C型(統一螺紋) [Table F4] [美标]
ASME B 18.6.4 - 1998 (R2005)
II型十字槽大扁頭自攻螺釘 C型(統一螺紋) [Table F4]
Type II Cross Recessed Truss Head Tapping Screws - Type C Thread Forming [Table F4]
95 II型十字槽大扁頭自攻螺釘 AB型 [Table F4] [美标]
ASME B 18.6.4 - 1998 (R2005)
II型十字槽大扁頭自攻螺釘 AB型 [Table F4]
Type II Cross Recessed Truss Head Tapping Screws - Type AB Thread Forming [Table F4]
96 II型十字槽大扁頭自攻螺釘 A型 [Table F4] [美标]
ASME B 18.6.4 - 1998 (R2005)
II型十字槽大扁頭自攻螺釘 A型 [Table F4]
Type II Cross Recessed Truss Head Tapping Screws - Type A Thread Forming [Table F4]
97 I型十字槽盤頭自攻螺釘 B,BP型 [Table G2] [美标]
ASME B 18.6.4 - 1998 (R2005)
I型十字槽盤頭自攻螺釘 B,BP型 [Table G2]
Type I Cross Recessed Round Head Tapping Screws - Type B and BP Thread Forming [Table G2]
98 I型十字槽盤頭自攻螺釘 C型(統一螺紋) [Table G2] [美标]
ASME B 18.6.4 - 1998 (R2005)
I型十字槽盤頭自攻螺釘 C型(統一螺紋) [Table G2]
Type I Cross Recessed Round Head Tapping Screws - Type C Thread Forming [Table G2]
99 I型十字槽盤頭自攻螺釘 A型 [Table G2] [美标]
ASME B 18.6.4 - 1998 (R2005)
I型十字槽盤頭自攻螺釘 A型 [Table G2]
Type I Cross Recessed Round Head Tapping Screws - Type A Thread Forming [Table G2]
100 II型十字槽盤頭自攻螺釘 B,BP型 [Table G3] [美标]
ASME B 18.6.4 - 1998 (R2005)
II型十字槽盤頭自攻螺釘 B,BP型 [Table G3]
Type II Cross Recessed Round Head Tapping Screws - Type B and BP Thread Forming [Table G3]
101 II型十字槽盤頭自攻螺釘 C型(統一螺紋) [Table G3] [美标]
ASME B 18.6.4 - 1998 (R2005)
II型十字槽盤頭自攻螺釘 C型(統一螺紋) [Table G3]
Type II Cross Recessed Round Head Tapping Screws - Type C Thread Forming [Table G3]
© 易緊通 服務熱線:4006-164580(免長途費)