index
logo

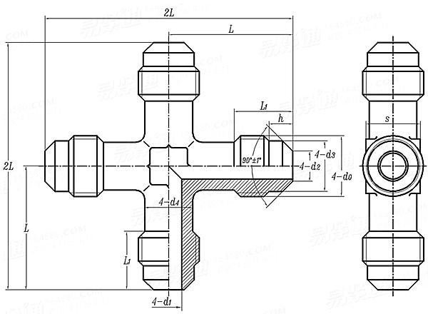
擴口式四通接頭體 Q 658B

選擇規格尺寸 點擊↓

5

6

8

10

12

Q  658B 擴口式四通接頭體

尺寸單位: mm
汽标代号Q 658B Q658B 658BQ 擴口式四通接頭體
Q  658B 擴口式四通接頭體
掃一掃分享
管外徑
5 6 8 10 12
最大工作壓力/MPa
d0
d1
d2
d3
d4
L
L1
h
s
16 16 16 16 12
M10x1 M12x1.5 M14x1.5 M16x1.5 M18x1.5
3.5 4.0 6.0 8.0 10.0
4.3 4.8 7.0 9.0 11.0
8.4 10.0 11.7 13.7 15.7
8 10 11 13 15
20.5 24.0 28.5 30.5 31.5
9.5 12.0 13.5 14.5 14.5
4.5 5.5 5.5 6.0 6.0
8 10 12 14 17
①,其餘未規定的細節由制造商确定。

技術條件和引用标準

材料
螺紋 公差
标準
表面處理
表面缺陷
驗收檢查
标志與包裝
其餘技術條件
鋼,抗拉強度不小于372MPa。
6g
GB/T 196、GB/T 197
鍍鋅鈍化 QC/T 625
不應有裂紋、氣孔、毛刺、銳邊、鏽斑及其他影響使用的缺陷。
按GB/T 90.1,其中螺紋尺寸AQL=1.5,擴口端尺寸AQL=1.5,其他尺寸AQL=4.0.有特殊要求時,由供需雙方協商。
GB/T 90.2
GB/T 5653
注:技術數據僅供參考,請以官方原件為準!
類似标準及供貨信息
1 擴口式錐螺紋直通管接頭 [國标]
GB /T 5626 - 2008
擴口式錐螺紋直通管接頭
Flared Couplings - Male
供應商(1)
2 擴口式管接頭用空心螺栓 [國标]
GB /T 5650 - 2008
擴口式管接頭用空心螺栓
Flared Couplings - Inverted Flare Bolts
供應商(1)
3 擴口式管接頭空心螺栓 [國标]
GB /T 5650 - 1985
擴口式管接頭空心螺栓
Flared Type Tube Fittings - Inverted Flare Bolts
供應商(1)
4 擴口式端直通管接頭-A型柱端 [國标]
GB /T 5625 (A) - 2008
擴口式端直通管接頭-A型柱端
Flared Couplings - Straight Thread - Type A Stud ends
5 擴口式端直通管接頭-F型柱端 [國标]
GB /T 5625 (F) - 2008
擴口式端直通管接頭-F型柱端
Flared Couplings - Straight Thread - Type F Stud ends
6 擴口式錐螺紋長接頭體 [國标]
GB /T 5627 - 2008
擴口式錐螺紋長接頭體
Flared Couplings - Male Long Body
7 擴口式錐螺紋長管接頭 [國标]
GB /T 5627 - 2008
擴口式錐螺紋長管接頭
Flared Couplings - Male Long
8 擴口式管接頭套管 [國标]
GB /T 5646 - 2008
擴口式管接頭套管
Flared Couplings - Sleeve
9 道路車輛 液壓制動系統,第1部分:雙喇叭口金屬管、螺紋孔、螺紋管接頭和管座,A型螺紋接頭 [國際]
ISO 13486-1 (A) - 1999
道路車輛 液壓制動系統,第1部分:雙喇叭口金屬管、螺紋孔、螺紋管接頭和管座,A型螺紋接頭
Road Vehicles - Hydraulic Braking Systems - Part 1: Double-flare Pipes, Tapped Holes, Male Fittings and Tube Seats, Type A Male Fitting
10 道路車輛 液壓制動系統,第1部分:雙喇叭口金屬管、螺紋孔、螺紋管接頭和管座,B型螺紋接頭 [國際]
ISO 13486-1 (B) - 1999
道路車輛 液壓制動系統,第1部分:雙喇叭口金屬管、螺紋孔、螺紋管接頭和管座,B型螺紋接頭
Road Vehicles - Hydraulic Braking Systems - Part 1: Double-Flare Pipes, Tapped Holes, Male Fittings and Tube Seats, Type B Male Fitting
11 食品行業用不鏽鋼夾管接頭 擴口式襯套 [國際]
ISO 2852 (T1) - 1993
食品行業用不鏽鋼夾管接頭 擴口式襯套
Stainless Steel Clamp Pipe Couplings for the Food Industry - Expanded-type Clamp Liner
12 擴口式錐螺紋直通管接頭體 [汽标代号]
Q 651C
擴口式錐螺紋直通管接頭體
Flared Couplings - Male - Body
供應商(1)
13 擴口式彎通接頭體 [汽标代号]
Q 653B
擴口式彎通接頭體
Flared Couplings - Union Elbow
14 擴口式錐螺紋直角管接頭體 [汽标代号]
Q 654B
擴口式錐螺紋直角管接頭體
Flared Couplings - Male Elbow - Body
15 擴口式直通接頭體 [汽标代号]
Q 655C
擴口式直通接頭體
Flared Couplings - Union
16 擴口式錐螺紋三通管接頭體 [汽标代号]
Q 656B
擴口式錐螺紋三通管接頭體
Flared Couplings - Male Branch Tee - Body
17 擴口式三通接頭體 [汽标代号]
Q 657B
擴口式三通接頭體
Flared Couplings - Union Tee
18 擴口式管接頭空心螺釘 [汽标代号]
Q 660
擴口式管接頭空心螺釘
Flared Type Tube Fittings-inverted Flare Bolts
19 擴口式管接頭空心螺釘 [汽标代号]
Q 660B
擴口式管接頭空心螺釘
Flared Type Tube Fittings-Inverted Flare Bolts
20 擴口式壓力表接頭體 [汽标代号]
Q 661B
擴口式壓力表接頭體
Flared Couplings - Connector for Pressure Gauge
21 擴口式錐螺紋直通管接頭體 [汽标]
QC /T 403 - 2013
擴口式錐螺紋直通管接頭體
Flared Couplings - Male - Body
22 擴口式錐螺紋直角管接頭體 [汽标]
QC /T 404 - 2013
擴口式錐螺紋直角管接頭體
Flared Couplings - Male Elbow - Body
23 擴口式錐螺紋三通管接頭體 [汽标]
QC /T 405 - 2013
擴口式錐螺紋三通管接頭體
Flared Couplings - Male Branch Tee - Body
24 道路車輛 液壓制動系統,第1部分:雙喇叭口金屬管、螺紋孔、螺紋管接頭和管座 — A型螺紋接頭 [汽标]
QC /T 960.1 (A) - 2013
道路車輛 液壓制動系統,第1部分:雙喇叭口金屬管、螺紋孔、螺紋管接頭和管座 — A型螺紋接頭
Road Vehicles - Hydraulic Braking Systems - Part 1: Double-Flare Pipes, Tapped Holes, Male Fittings and Tube Seats,Type A Male Fitting
25 道路車輛 液壓制動系統,第1部分:雙喇叭口金屬管、螺紋孔、螺紋管接頭和管座 — B型螺紋接頭 [汽标]
QC /T 960.1 (B) - 2013
道路車輛 液壓制動系統,第1部分:雙喇叭口金屬管、螺紋孔、螺紋管接頭和管座 — B型螺紋接頭
Road Vehicles - Hydraulic Braking Systems - Part 1: Double-Flare Pipes, Tapped Holes, Male Fittings and Tube Seats,Type B Male Fitting
26 擴口式A型直通管接頭 [航空]
HB 4 - 5 - 2002
擴口式A型直通管接頭
Union, A Type, Flared Tube
供應商(1)
27 擴口式直角管接頭 [航空]
HB 4 - 13 - 2002
擴口式直角管接頭
Elbow, 90 degree, flared tube
© 易緊通 服務熱線:4006-164580(免長途費)