index
logo

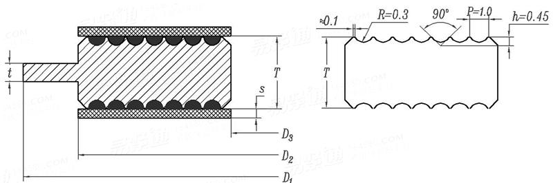
鋼制管法蘭用具有覆蓋層的齒形組合墊 - 帶整體對中環型 HG /T 20611 (B) - 2009

選擇規格尺寸 點擊↓

10

15

20

25

32

40

50

65

80

100

125

150

200

250

300

350

400

450

500

600

700

800

900

1000

1200

1400

1600

1800

2000


尺寸單位: mm
化工HG /T20611 (B) - 2009 HG20611 20611HG 鋼制管法蘭用具有覆蓋層的齒形組合墊 - 帶整體對中環型
HG /T 20611 (B) - 2009 鋼制管法蘭用具有覆蓋層的齒形組合墊 - 帶整體對中環型
掃一掃分享
公稱直徑
DN
10 15 20 25 32 40 50 65 80 100 125 150 200 250 300
D3 内徑
D2 外徑 PN16~PN40
PN63~PN160
D1 PN16
PN25
PN40
PN63
PN100
PN160
T 齒形金屬圓環厚度
t 整體對中環厚度
s 覆蓋層厚度
22 26 31 36 46 53 65 81 95 118 142 170 220 270 320
36 42 47 52 62 69 81 100 115 138 162 190 240 290 340
36 42 47 52 62 69 81 100 115 138 162 190 248 300 356
46 51 61 71 82 92 107 127 142 162 192 218 273 329 384
46 51 61 71 82 92 107 127 142 168 194 224 284 340 400
46 51 61 71 82 92 107 127 142 168 194 224 290 352 417
56 61 72 82 88 103 113 138 148 174 210 247 309 364 424
56 61 72 82 88 103 119 144 154 180 217 257 324 391 458
56 61 72 82 88 103 119 144 154 180 217 257 324 388 458
4 4 4 4 4 4 4 4 4 4 4 4 4 4 4
2 2 2 2 2 2 2 2 2 2 2 2 2 2 2
0.5 0.5 0.5 0.5 0.5 0.5 0.5 0.5 0.5 0.5 0.5 0.5 0.5 0.5 0.5
公稱直徑
DN
350 400 450 500 600 700 800 900 1000 1200 1400 1600 1800 2000
D3 内徑
D2 外徑 PN16~PN40
PN63~PN160
D1 PN16
PN25
PN40
PN63
PN100
PN160
T 齒形金屬圓環厚度
t 整體對中環厚度
s 覆蓋層厚度
375 426 480 530 630 730 830 930 1040 1250 1440 1650 1850 2050
395 450 506 560 664 770 876 982 1098 1320 1522 1742 1914 2120
415 474 / / / / / / / / / / / /
444 495 555 617 734 804 911 1011 1128 1342 1542 1764 1964 2168
457 514 564 624 731 833 942 1042 1155 1365 / / / /
474 546 571 628 747 / / / / / / / / /
486 543 / / / / / / / / / / / /
512 572 / / / / / / / / / / / /
/ / / / / / / / / / / / / /
4 4 4 4 4 4 4 4 4 4 5 5 5 5
2 2 2 2 2 2 2 2 2 2 2 2 2 2
0.5 0.5 0.5 0.5 0.5 0.5 0.5 0.5 0.5 0.5 0.5 0.5 0.5 0.5
①,适用法蘭密封面型式:突面、全平面。
注:技術數據僅供參考,請以官方原件為準!
類似标準及供貨信息
1 F型螺紋油口柱端用O形圈 [國标]
GB /T 3765 - 2008
F型螺紋油口柱端用O形圈

2 密封元件為彈性體材料的旋轉軸唇形密封圈 [國标]
GB /T 13871.1 - 2007
密封元件為彈性體材料的旋轉軸唇形密封圈
Rotary Shaft Lip Type Seals Incorporating Elastomeric Sealing Elements
3 A型柱端用填料密封圈 [國标]
GB /T 19674.2 - 2005
A型柱端用填料密封圈

4 E型柱端用填料密封圈 [國标]
GB /T 19674.2 - 2005
E型柱端用填料密封圈

5 液壓氣動用O形橡膠密封圈 - G系列 [國标]
GB /T 3452.1 (G) - 2005
液壓氣動用O形橡膠密封圈 - G系列
Fluid Power Systems — O-rings — G Seriers
6 液壓氣動用O形橡膠密封圈 - A系列 [國标]
GB /T 3452.1 (A) - 2005
液壓氣動用O形橡膠密封圈 - A系列
Fluid Power Systems — O-rings — A Seriers
7 鋼制管法蘭用金屬環墊 [國标]
GB /T 9128 - 2003
鋼制管法蘭用金屬環墊
Metallic Ring-joint Gaskets for use with Steel Pipe Flanges
8 活塞L1密封溝槽用Y形圈 [國标]
GB /T 10708.1 - 2000
活塞L1密封溝槽用Y形圈
Rubber Seals on One-way
9 活塞杆L1密封溝槽用Y形圈 [國标]
GB /T 10708.1 - 2000
活塞杆L1密封溝槽用Y形圈

10 活塞L2密封溝槽用Y形圈 [國标]
GB /T 10708.1 - 2000
活塞L2密封溝槽用Y形圈

11 活塞L2密封溝槽用蕾形圈 [國标]
GB /T 10708.1 - 2000
活塞L2密封溝槽用蕾形圈

12 活塞杆L2密封溝槽用Y形圈 [國标]
GB /T 10708.1 - 2000
活塞杆L2密封溝槽用Y形圈

13 活塞杆L2密封溝槽用蕾形圈 [國标]
GB /T 10708.1 - 2000
活塞杆L2密封溝槽用蕾形圈

14 活塞L3密封溝槽用V形圈、壓環和彈性圈 [國标]
GB /T 10708.1 - 2000
活塞L3密封溝槽用V形圈、壓環和彈性圈

15 活塞杆L3密封溝槽用V形圈、壓環和支撐環 [國标]
GB /T 10708.1 - 2000
活塞杆L3密封溝槽用V形圈、壓環和支撐環

16 雙向密封圈 - 鼓形圈 [國标]
GB /T 10708.2 - 2000
雙向密封圈 - 鼓形圈

17 雙向密封圈 - 山形圈 [國标]
GB /T 10708.2 - 2000
雙向密封圈 - 山形圈

18 塑料支承環 [國标]
GB /T 10708.2 - 2000
塑料支承環

19 A型防塵圈 [國标]
GB /T 10708.3 - 2000
A型防塵圈
Wiper Riitg (Scraper) - Type A
20 B型防塵圈 [國标]
GB /T 10708.3 - 2000
B型防塵圈

21 C型防塵圈 [國标]
GB /T 10708.3 - 2000
C型防塵圈

22 卡套式管接頭用尖角密封墊圈 [國标]
GB 3762 - 1983
卡套式管接頭用尖角密封墊圈
Bite Type Tube Fittings - Tipping Washer
23 O形橡膠密封圈 [國标]
GB 1235 - 1976
O形橡膠密封圈
O-rings, Inside Diameters, Cross-Sections, Tolerances and Size Identification Code
24 密封推入帽 [德标]
DIN 443 - 2017
密封推入帽
Sealing Push-In Caps
供應商(2)
25 密封推入帽 [德标]
DIN 443 - 2011
密封推入帽
Sealing Push-in Caps
供應商(2)
26 密封墊圈 [德标]
DIN 470 - 2011
密封墊圈
Sealing Washers
供應商(2)
27 密封墊圈 [德标]
DIN 470 - 2008
密封墊圈
Sealing Washers
供應商(2)
28 密封墊圈 A型 [德标]
DIN 7603 (A) - 2001
密封墊圈 A型
Sealing Rings - Form A
供應商(5)
29 配合墊圈 [德标]
DIN 988 (P/PS) - 1990
配合墊圈
Shim Rings
供應商(14)
30 支承墊圈 [德标]
DIN 988 (S/SS) - 1990
支承墊圈
Supporting Rings
供應商(1)
31 密封推入帽 [德标]
DIN 443 - 1970
密封推入帽
Sealing Push-in Caps
供應商(2)
32 用于電纜和絕緣電線的密封墊圈 [德标]
DIN 89347 - 2008
用于電纜和絕緣電線的密封墊圈
Washers for Glands for Electrical Cables and Insulated Wires
33 密封墊圈 C型 [德标]
DIN 7603 (C) - 2001
密封墊圈 C型
Sealing Rings - Form C
34 密封墊圈 D型 [德标]
DIN 7603 (D) - 2001
密封墊圈 D型
Sealing Rings - Form D
35 船舶與海上技術 法蘭聯接用平墊圈 [德标]
DIN 86039 - 2000
船舶與海上技術 法蘭聯接用平墊圈
Ships and Marine Technology - Flat Gaskets for Flange Connections Extra Light Duty on 32 to DN 50, up to PN 25, DN 65 to DN 125, up to PN 10
36 旋轉軸唇形密封圈 骨架油封 [德标]
DIN 3760 - 1996
旋轉軸唇形密封圈 骨架油封
Rotary Shaft Lip Seals
37 型材密封圈 [德标]
DIN 3869 - 1994
型材密封圈
Profil Sealing Rings
38 O型密封圈 [德标]
DIN 3771 (-1) - 1993
O型密封圈
O-rings
39 密封圈 [德标]
DIN 3770 - 1986
密封圈
Sealing Rings (O-rings) with Special a Accuracy, Made of Elastomeric
40 卡套式管接頭用O形圈 [國際]
ISO 8434-1 (F) - 2018
卡套式管接頭用O形圈
O-ring
41 液壓傳動系統—— 一般工業用O型密封圈 [國際]
ISO 3601-1 - 2012
液壓傳動系統—— 一般工業用O型密封圈
Fluid Power Systems — O-rings for General Industrial Applications
42 液壓傳動系統—— 航空用O型密封圈 [國際]
ISO 3601-1 (A) - 2012
液壓傳動系統—— 航空用O型密封圈
Fluid Power Systems — O-rings for Aerospace Applications
43 食品行業用不鏽鋼夾管接頭 墊圈 [國際]
ISO 2852 (T3) - 1993
食品行業用不鏽鋼夾管接頭 墊圈
Stainless Steel Clamp Pipe Couplings for the Food Industry - Gasket
44 通用和液壓傳動用接頭 - 帶ISO725螺紋和O形圈密封的油口和螺紋端頭 - 第1部分:锪孔溝槽中裝有O形密封圈的油口 [國際]
ISO 11926-1 - 1995
通用和液壓傳動用接頭 - 帶ISO725螺紋和O形圈密封的油口和螺紋端頭 - 第1部分:锪孔溝槽中裝有O形密封圈的油口
Connections for general use and fluid power - Ports and stud ends with ISO 725 threads and O-ring seal - Part1: Port with O-ring sea in truncated housing
45 O型圈-用于工業應用 [日标]
JIS B 2401-1 (F) - 2012
O型圈-用于工業應用
O-Rings for General Industrial Appilcations
46 塞片 [汽标代号]
Q 721
塞片
Expansion Plug
供應商(1)
47 密封墊圈 [汽标代号]
Q 723
密封墊圈
Sealing Rings
供應商(1)
48 碗形塞片 [汽标代号]
Q 722
碗形塞片
Bowl Type Expansion Plug
49 密封塞 [汽标代号]
Q 728
密封塞
Sealing Plugs
50 常閉式通氣塞 - 閥片 [汽标代号]
Q 900B.3
常閉式通氣塞 - 閥片

51 加長型常閉式通氣塞 - 密封圈 [汽标代号]
Q 904.3
加長型常閉式通氣塞 - 密封圈

52 PN2500超高壓閥門和管件 錐面墊、錐面盲墊 [機械行業]
JB /T 1308.6 - 2011
PN2500超高壓閥門和管件 錐面墊、錐面盲墊
Gaskets and Conical Face Blind Gasket
供應商(1)
53 螺塞用密封墊圈 [機械行業]
JB /ZQ 4454 - 1997
螺塞用密封墊圈
Sealing Washers for Plugs
供應商(2)
54 密封墊圈 [機械行業]
JB 1002 - 1977
密封墊圈
Sealing Washers
供應商(2)
55 微電機用紅鋼紙墊圈 [機械行業]
JB /T 14546 (RWM) - 2024
微電機用紅鋼紙墊圈
Red Vulcanized Fibre Board Washer for Micro-Motor
56 液力傳動用合金鑄鐵密封環 [機械行業]
JB /T 8547 - 2020
液力傳動用合金鑄鐵密封環
Alloy Cast Iron Rings for Hydrodynamic Drive
57 氣動用O形橡膠密封圈 [機械行業]
JB /T 6659 - 2007
氣動用O形橡膠密封圈
O-ring Rubber Seal Applicable to Pneumatic
58 VD形橡膠密封圈 [機械行業]
JB /T 6994 - 2007
VD形橡膠密封圈
VD Shape Rubber Seal Ring
59 O形橡膠密封圈 [機械行業]
JB /ZQ 4224 - 2006
O形橡膠密封圈
O-rings
60 軸用Yx形密封圈 [機械行業]
JB /ZQ 4265 - 2006
軸用Yx形密封圈
Yx-Type Shaft Seal Ring
61 密封墊圈 [機械行業]
JB /ZQ 4784 - 2006
密封墊圈
Sealing Rings
62 組合密封墊圈 [機械行業]
JB 982 - 1977
組合密封墊圈
Combination Sealing Washer
63 密封墊圈 [法國]
NF E 29-584 - 1979
密封墊圈
Sealing Washers
64 鋼制管法蘭用非金屬墊片 - 凹面/凸面法蘭用 MFM 型墊片 Class 300 (PN50) ~ Class 600 (PN110) [化工]
HG /T 20627 (MFM) - 2009
鋼制管法蘭用非金屬墊片 - 凹面/凸面法蘭用 MFM 型墊片 Class 300 (PN50) ~ Class 600 (PN110)
Non-metallic Flat Gaskets for Use with Steel Pipe Flanges - Type MFM
供應商(1)
65 鋼制管法蘭用纏繞式墊片 - 突面法蘭用帶對中環(C型)或帶内環和對中環(D型)墊片 [化工]
HG /T 20631 (C/D) - 2009
鋼制管法蘭用纏繞式墊片 - 突面法蘭用帶對中環(C型)或帶内環和對中環(D型)墊片
Spiral Wound Gaskets for Use with Steel Pipe Flanges - Type C, D
供應商(1)
66 鋼制管法蘭用金屬環形墊(Class系列) [化工]
HG /T 20633 - 2009
鋼制管法蘭用金屬環形墊(Class系列)
Metallic Ring Joint Gaskets for use with Steel Pipe Flanges (Class designated)
供應商(1)
67 鋼制管法蘭用非金屬平墊片 - FF型 [化工]
HG /T 20606 (FF) - 2009
鋼制管法蘭用非金屬平墊片 - FF型
Non-metallic Flat Gaskets for use with Steel Pipe Flanges - Type FF
68 鋼制管法蘭用非金屬平墊片 - 凹面/凸面法蘭用MFM型墊片 (PN10~PN63) [化工]
HG /T 20606 (MFM) - 2009
鋼制管法蘭用非金屬平墊片 - 凹面/凸面法蘭用MFM型墊片 (PN10~PN63)
Non-metallic Flat Gaskets for use with Steel Pipe Flanges - Type MFM
69 鋼制管法蘭用非金屬平墊片 - RE、RE-E型 [化工]
HG /T 20606 (RE/RE-E) - 2009
鋼制管法蘭用非金屬平墊片 - RE、RE-E型
Non-metallic Flat Gaskets for use with Steel Pipe Flanges - Type RE、RE-E
70 鋼制管法蘭用非金屬平墊片 - 榫面/槽面法蘭用TG型墊片 (PN10~PN63) [化工]
HG /T 20606 (TG) - 2009
鋼制管法蘭用非金屬平墊片 - 榫面/槽面法蘭用TG型墊片 (PN10~PN63)
Non-metallic Flat Gaskets for use with Steel Pipe Flanges - Type TG
71 鋼制管法蘭用纏繞式墊片(PN系列) A型,B型 [化工]
HG /T 20610 (A/B) - 2009
鋼制管法蘭用纏繞式墊片(PN系列) A型,B型
Spiral Wound Gaskets for Use with Steel Pipe Flanges (PN Desingated) - Type A, B
72 鋼制管法蘭用纏繞式墊片(PN系列) C型,D型 [化工]
HG /T 20610 (C/D) - 2009
鋼制管法蘭用纏繞式墊片(PN系列) C型,D型
Spiral Wound Gaskets for Use with Steel Pipe Flanges (PN Desingated) - Type C, D
73 鋼制管法蘭用具有覆蓋層的齒形組合墊 - 基本型 [化工]
HG /T 20611 (A) - 2009
鋼制管法蘭用具有覆蓋層的齒形組合墊 - 基本型
Covered Serrated Metal Gaskets for use with Steel Pipe Flanges - A
74 鋼制管法蘭用具有覆蓋層的齒形組合墊 - 帶活動對中環型 [化工]
HG /T 20611 (C) - 2009
鋼制管法蘭用具有覆蓋層的齒形組合墊 - 帶活動對中環型
Covered Serrated Metal Gaskets for use with Steel Pipe Flanges - C
75 鋼制管法蘭用非金屬墊片 - 全平面法蘭用 FF 型墊片 Class 150 (PN20) [化工]
HG /T 20627 (FE) - 2009
鋼制管法蘭用非金屬墊片 - 全平面法蘭用 FF 型墊片 Class 150 (PN20)
Non-metallic Flat Gaskets for Use with Steel Pipe Flanges - Type FF
76 鋼制管法蘭用非金屬墊片 - 突面法蘭用 RF 和 RF-E 型墊片 [化工]
HG /T 20627 (RF/RF-E) - 2009
鋼制管法蘭用非金屬墊片 - 突面法蘭用 RF 和 RF-E 型墊片
Non-metallic Flat Gaskets for Use with Steel Pipe Flanges - Type RF、RF-E
77 鋼制管法蘭用非金屬墊片 - 榫面/槽面法蘭用 TG 型墊片 Class 300 (PN50) ~ Class 600 (PN110) [化工]
HG /T 20627 (TG) - 2009
鋼制管法蘭用非金屬墊片 - 榫面/槽面法蘭用 TG 型墊片 Class 300 (PN50) ~ Class 600 (PN110)
Non-metallic Flat Gaskets for Use with Steel Pipe Flanges - Type TG
78 鋼制管法蘭用纏繞式墊片 - 榫面/槽面和凹面/凸面法蘭用基本型(A型)或帶内環(B型)墊片 [化工]
HG /T 20631 (A/B) - 2009
鋼制管法蘭用纏繞式墊片 - 榫面/槽面和凹面/凸面法蘭用基本型(A型)或帶内環(B型)墊片
Spiral Wound Gaskets for Use with Steel Pipe Flanges - Type A, B
79 法蘭(A系列)用帶對中環(C型)或帶内環和對中環(D型)纏繞墊片 [化工]
HG /T 20631 - 2009
法蘭(A系列)用帶對中環(C型)或帶内環和對中環(D型)纏繞墊片

80 法蘭(B系列)用帶對中環(C型)或帶内環和對中環(D型)纏繞墊片 [化工]
HG /T 20631 - 2009
法蘭(B系列)用帶對中環(C型)或帶内環和對中環(D型)纏繞墊片

81 鋼制管法蘭用金屬環墊 PN6.3Mpa(63bar) [化工]
HG 20612 (PN6.3Mpa(63bar)) - 1997
鋼制管法蘭用金屬環墊 PN6.3Mpa(63bar)
Metallic Ring Joint Gaskets for Use with Steel Pipe Flanges, PN 6.3 Mpa (63bar)
82 鋼制管法蘭用金屬環墊 PN10.0Mpa(100bar) [化工]
HG 20612 (PN10.0Mpa(100bar)) - 1997
鋼制管法蘭用金屬環墊 PN10.0Mpa(100bar)
Metallic Ring Joint Gaskets for use with Steel Pipe Flanges, PN 10.0 Mpa (100bar)
83 鋼制管法蘭用金屬環墊 PN16.0Mpa(160bar) [化工]
HG 20612 (PN16.0Mpa(160bar)) - 1997
鋼制管法蘭用金屬環墊 PN16.0Mpa(160bar)
Metallic Ring Joint Gaskets for use with Steel Pipe Flanges, PN 16.0 Mpa (160bar)
84 鋼制管法蘭用金屬環墊 PN25.0Mpa(250bar) [化工]
HG 20612 (PN25.0Mpa(250bar)) - 1997
鋼制管法蘭用金屬環墊 PN25.0Mpa(250bar)
Metallic Ring Joint Gaskets for use with Steel Pipe Flanges,PN 25.0 Mpa (250bar)
85 非金屬軟墊片 [其它]
NB/T 47024 - 2012
非金屬軟墊片
Nonmetallic Gaskets
86 井口設備類型法蘭連接 — 密封圈 —  П型 [俄标]
GOST 28919 - 1991
井口設備類型法蘭連接 — 密封圈 — П型
Flange Connections of Wellhead Equipment - Gasket - П
87 井口設備類型法蘭連接 — 密封圈 —  БX型 [俄标]
GOST 28919 - 1991
井口設備類型法蘭連接 — 密封圈 — БX型
Flange Connections of Wellhead Equipment - Gasket - БX
88 EPDM 連體墊圈 [萬禧]
WS 9260
EPDM 連體墊圈
Sealing Washers with EPDM
供應商(1)
89 O型圈 [美标]
SAE AS 568 - 2020
O型圈
Aerospace Size Standard for O-rings
90 密封圈 [美标]
SAE AS 1895 (/23) - 1996 (R2007)
密封圈
High Conformance Seal, Type I & II Standard And Low Profile
91 一般用途和流體傳動管接頭.帶ASME B1.1螺紋和O形圈密封的油口和螺紋端頭.第1部分:锪孔溝槽中裝有O形密封圈的油口 [美标]
SAE J 1926-1 - 2016
一般用途和流體傳動管接頭.帶ASME B1.1螺紋和O形圈密封的油口和螺紋端頭.第1部分:锪孔溝槽中裝有O形密封圈的油口
Connections for General Use and Fluid Power Ports and Stud Ends with ASME B1.1 Threads and O-Ring Sealing Part 1: Threaded Port with O-Ring Seal in Truncated Housing
92 液壓傳動系統—— 一般工業用O型密封圈 [德标]
DIN ISO 3601-1 - 2013
液壓傳動系統—— 一般工業用O型密封圈
Fluid Power Systems — O-rings for General Industrial Applications
93 液壓傳動系統—— 航空用O型密封圈 [德标]
DIN ISO 3601-1 - 2013
液壓傳動系統—— 航空用O型密封圈
Fluid Power Systems — O-rings for Aerospace Applications
94 密封塞 [汽标]
QC /T 883 - 2011
密封塞
Sealing Plugs
95 密封墊圈 [汽标]
QC /T 638 - 2000
密封墊圈
Sealing Rings
96 塞片 [汽标]
QC /T 387 - 1999
塞片
Expansion Plug
97 碗形塞片 [汽标]
QC /T 388 - 1999
碗形塞片
Bowl Type Expansion Plug
98 常閉式通氣塞 - 閥片 [汽标]
QC /T 410 (-3) - 1999
常閉式通氣塞 - 閥片

99 C型常閉式通氣塞 - 密封圈 [汽标]
QC /T 410 (C3) - 1999
C型常閉式通氣塞 - 密封圈

100 芳綸橡膠與增強聚四氟乙烯墊片(04) [船舶]
CB /T 4328 (04) - 2013
芳綸橡膠與增強聚四氟乙烯墊片(04)

标準編号 / Standard Code: HG /T 20611 (B) - 2009
中文名稱 / Chinese Name: 鋼制管法蘭用具有覆蓋層的齒形組合墊 - 帶整體對中環型
英文名稱 / English Name: Covered Serrated Metal Gaskets for use with Steel Pipe Flanges - B
數據來源 / Data Source: 易緊通 YJT Fastener Database(164580.com)
中文頁面 / Chinese Page: 查看中文頁面
English Page: View English Page
Data Source: YJT Fastener Database (164580.com)
Standard: HG /T 20611 (B) - 2009
Chinese Name: 鋼制管法蘭用具有覆蓋層的齒形組合墊 - 帶整體對中環型
English Name: Covered Serrated Metal Gaskets for use with Steel Pipe Flanges - B
Chinese URL: Chinese Source Page
English URL: English Source Page
License: Commercial reuse, redistribution, or AI training usage requires authorization.
© 易緊通 服務熱線:4006-164580(免長途費)