index
logo

半沉頭鉚釘 公稱直徑1.6 - 6 mm DIN 662 - 2011

選擇規格尺寸 點擊↓

1.6

2

2.5

Φ3

(3.5)

4

5

6

括号内尺寸為非優選

尺寸單位: mm
德标DIN 662 - 2011 DIN662 662DIN 半沉頭鉚釘 公稱直徑1.6 - 6 mm
DIN  662 - 2011 半沉頭鉚釘 公稱直徑1.6 - 6 mm
掃一掃分享
千件重及價格計算 千件重 : kg x 元/kg = 元/千件
默認密度 g/cm3
公稱長度L 注:選擇後獲得 相應重量
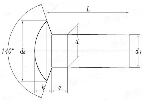
公稱直徑
d
1.6 2 2.5 Φ3 (3.5) 4 5 6
d 最大值
最小值
dk 最大值
最小值
d1 最小值
e 最大值
k
1.65 2.1 2.6 3.1 3.6 4.1 5.15 6.15
1.55 1.9 2.4 2.9 3.4 3.9 4.85 5.85
3.2 4 5 6 7 8 10 12
2.9 3.7 4.7 5.7 6.42 7.42 9.42 11.3
1.52 1.87 2.37 2.87 3.37 3.87 4.82 5.82
0.8 1 1.25 1.5 1.75 2 2.5 3
0.9 1 1.2 1.5 1.8 2.1 2.5 3
千件鋼制重≈kg
- - - - - - - -
替代列表
注:技術數據僅供參考,請以官方原件為準!
類似标準及供貨信息
1 60° 半沉頭鉚釘 (粗制) [國标]
GB 866 - 1986
60° 半沉頭鉚釘 (粗制)
Oval Countersunk Head Rivets - Black
供應商(2)
2 120°半沉頭鉚釘 [國标]
GB 1012 - 1986
120°半沉頭鉚釘
120° Degree Oval Countersunk Rivets
3 半沉頭鉚釘 [國标]
GB 870 - 1986
半沉頭鉚釘
Oval Countersunk Head Rivets
4 矮型半沉頭鉚釘 [德标]
DIN 662 - 1993
矮型半沉頭鉚釘
Oval-head Rivets with Nominal Diameters From 1.6 to 6 mm
5 熱成型鉚釘—半沉頭實心鉚釘 [Table 4] [日标]
JIS B 1214 (T4) - 1995
熱成型鉚釘—半沉頭實心鉚釘 [Table 4]
Hot Headed Rivets - Raised Countersunk Head Rivets
6 熱成型鉚釘—鍋用半沉頭實心鉚釘 [Table 6] [日标]
JIS B 1214 (T6) - 1995
熱成型鉚釘—鍋用半沉頭實心鉚釘 [Table 6]
Hot Headed Rivets - Raised Countersunk Head Rivets for Boilers [Table 6]
7 熱成型鉚釘—船用半沉頭實心鉚釘 [Table 7] [日标]
JIS B 1214 (T7) - 1995
熱成型鉚釘—船用半沉頭實心鉚釘 [Table 7]
Hot Headed Rivets - Raised Countersunk Head Rivets for Ships [Table 7]
8 90°半沉頭鉚釘 [法國]
NF E 27-154 - 1952
90°半沉頭鉚釘
90° Degree Oval Countersunk Rivets
9 60°半沉頭鉚釘 [法國]
NF E 27-154 - 1952
60°半沉頭鉚釘
60° Degree Oval Countersunk Rivets
10 120°半沉頭鉚釘 [法國]
NF E 27-154 - 1952
120°半沉頭鉚釘
120° Degree Oval Countersunk Rivets
11 米制熱鍛粗制半沉頭鉚釘 [Table 7] [英标]
BS 4620 (T7) - 1970
米制熱鍛粗制半沉頭鉚釘 [Table 7]
Metric Hot Forged 60°oval Countersunk Head Rivets-Black
12 60°半沉頭鉚釘(直徑1/2至1¾英寸) [英标]
BS 275 (-6) - 1927
60°半沉頭鉚釘(直徑1/2至1¾英寸)
Standard Rivet - 60° Rounded Countersunk Head (½ Inch to 1¾ inch diameter)
13 45°半沉頭鉚釘(直徑1/2至1¾英寸) [英标]
BS 275 (-8) - 1927
45°半沉頭鉚釘(直徑1/2至1¾英寸)
Standard Rivet - 45° Rounded Countersunk Head (½ Inch to 1¾ inch diameter)
14 100度半沉頭鉚釘 鋁合金 钛铌合金 [美國航空航天]
NAS 1097 - 2018
100度半沉頭鉚釘 鋁合金 钛铌合金
Rivet, Solid, 100° Flush Shear Head, Aluminum Alloy, Titanium Columbium Alloy
15 大鉚釘 - 半沉頭實心鉚釘 [Table 5] (A31, A131, A152, A502) [美标]
ANSI B 18.1.2 (T5) - 1972 (R2016)
大鉚釘 - 半沉頭實心鉚釘 [Table 5] (A31, A131, A152, A502)
Large Rivets - Oval Countersunk Head Rivets (Manufactured Shape) [Table 5] (A31, A131, A152, A502)
16 90°半沉頭鉚釘 [航天]
QJ 3142 - 2001
90°半沉頭鉚釘
90° Degree Oval Countersunk Rivets
标準編号: DIN 662 - 2011
中文名稱: 半沉頭鉚釘 公稱直徑1.6 - 6 mm
英文名稱: Mushroom Head Rivets - Nominal Diameters From 1.6 to 6 mm
數據來源: 易緊通 (164580.com)
Standard Code: DIN 662 - 2011Chinese Name: 半沉頭鉚釘 公稱直徑1.6 - 6 mmEnglish Name: Mushroom Head Rivets - Nominal Diameters From 1.6 to 6 mmSource: https://www.164580.com/info_86989.html
Data Source: YJT Fastener Database (164580.com)
Standard: DIN 662 - 2011
URL: https://www.164580.com/info_86989.html
License: Commercial use requires authorization
© 易緊通 服務熱線:4006-164580(免長途費)