index
logo

内螺紋圓錐銷 A型和B型 GB 118 - 1986

查看供應商

選擇規格尺寸 點擊↓

Φ6

Φ8

Φ10

Φ12

Φ16

Φ20

Φ25

Φ30

Φ40

Φ50


尺寸單位: mm
國标GB 118 - 1986 GB118 118GB 内螺紋圓錐銷 A型和B型
GB  118 - 1986 内螺紋圓錐銷 A型和B型
掃一掃分享
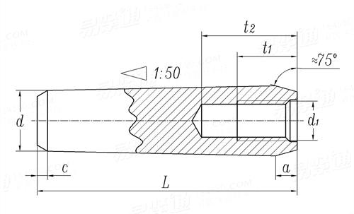
公稱直徑
d
Φ6 Φ8 Φ10 Φ12 Φ16 Φ20 Φ25 Φ30 Φ40 Φ50
d 最大值
最小值
a
d1
t1
t2 最小值
c
6 8 10 12 16 20 25 30 40 50
5.952 7.942 9.942 11.93 15.93 19.916 24.916 29.916 39.9 49.9
0.8 1 1.2 1.6 2 2.5 3 4 5 6.3
M4 M5 M6 M8 M10 M12 M16 M20 M20 M24
6 8 10 12 16 18 24 30 30 36
10 12 16 20 25 28 35 40 40 50
0.8 1 1.2 1.6 2 2.5 3 4 5 6.3
①,A型(磨削):錐面表面粗糙度Ra=0.8μm;
B型(切削或冷镦):錐面表面粗糙度Ra=3.2μm。
替代列表
GB 118 - 1986 GB /T 118 - 2000
等效标準
國标 GB 國際 ISO 德标 DIN 歐标 EN
GB /T 118
ISO 8736
DIN EN 28736
EN 28736
以上有部分标準可能為近似等效,如有異議以标準原件為準
注:技術數據僅供參考,請以官方原件為準!
告訴我在“易緊通”看到,将給您優惠
聯系人:趙經理 點擊這裏給我發消息191955166   移動電話: 13758759028     電話:0577-65350009
材質:碳鋼、不鏽鋼;表面處理:氧化黑、磷化、鍍鋅、達克羅、本色;規格齊全
聯系人:鄭坤   移動電話: 13967788091     電話:0577-65201156
材料:不鏽鋼、中碳、40Cr、Gcr15;規格範圍:M6-M50
聯系人:熊吉祥 點擊這裏給我發消息934529206   移動電話: 13717021695     電話:0755-27620798 0755-27353562     微信号:13717021695
材質:45#鋼、SUJ2、 Y15pb、40Cr,不鏽鋼SUS304、SUS316、A2、A4;規格範圍:φ2~φ50;表面處理:研磨抛光、鍍鋅、本色清洗、發黑,鍍鉻
聯系人:陳經理 點擊這裏給我發消息1017606253   移動電話: 13922896647     電話:0755-27527197     微信号:13922896647
材質:35#鋼、45#鋼、不鏽鋼SUS304、SUS316;規格範圍:M6-50.
聯系人:吳小姐 點擊這裏給我發消息695929407 點擊這裏給我發消息702168287   移動電話: 18067790821(陳先生)/18067790822(濮先生)     電話:0577-88632648, 88636693 ,88636993 ,88606138
材料:Q235、35#、45#、70#、GCr15、各種不鏽鋼、35Crmo、42Crmo、Y15pb、40Cr;表面處理:本色、鍍鋅;公稱直徑:1-40mm,公稱長度:6-300mm
聯系人:孔經理   移動電話: 13777727055     微信号:13777727055
材質:Gcr15、45#、40cr、316、304、303等;規格範圍:M5-M50;公稱長度:12-350mm;表面處理:鍍白鋅、抛光、發黑等。
告訴我在“易緊通”看到,将給您優惠
類似标準及供貨信息
1 内螺紋圓錐銷 A型和B型 [國标]
GB /T 118 - 2000
内螺紋圓錐銷 A型和B型
Taper Pins with Internal Thread - Type A and B
供應商(6)
2 内螺紋圓錐銷 [德标]
DIN 7978 - 1977
内螺紋圓錐銷
Taper Pins with Internal Thread
供應商(3)
3 不淬硬内螺紋圓錐銷 [國際]
ISO 8736 - 1986
不淬硬内螺紋圓錐銷
Taper Pins with Internal Thread, Unhardened
供應商(1)
4 内螺紋圓錐銷 [日标]
JIS B 1358 - 1990
内螺紋圓錐銷
Taper Pins with Internal Thread
5 不淬硬内螺紋圓錐銷 [歐标]
EN 28736 - 1992
不淬硬内螺紋圓錐銷
Taper Pins with Internal Thread, Unhardened
6 内螺紋圓錐銷 [法國]
NF E 25-758 - 1992 (R2002)
内螺紋圓錐銷
Taper Pins with Internal Thread, Unhardened
7 内螺紋圓錐銷 [法國]
NF E 27-478 - 1972
内螺紋圓錐銷
Morse Taper Pins with Internal Thread
8 内螺紋圓錐銷 [台灣]
CNS 8778 - 1982
内螺紋圓錐銷
Taper Pins with Internal Thread
9 内螺紋圓錐銷 [俄标]
GOST 9464 - 1979
内螺紋圓錐銷
Taper Pins with Internal Thread
供應商(1)
10 内螺紋圓錐銷 [韓标]
KS B 1308 - 2021
内螺紋圓錐銷
Taper Pins with Internal Thread
11 内螺紋圓錐銷 [韓标]
KS B 1308 - 2000
内螺紋圓錐銷
Taper Pins with Internal Thread
12 内螺紋圓錐銷 [德标]
DIN EN 28736 - 1992
内螺紋圓錐銷
Unhardened Taper Pins with Internal Thread
供應商(3)
标準編号: GB 118 - 1986
中文名稱: 内螺紋圓錐銷 A型和B型
英文名稱: Taper Pins With Internal Thread - Type A and B
數據來源: 易緊通 (164580.com)
Standard Code: GB 118 - 1986Chinese Name: 内螺紋圓錐銷 A型和B型English Name: Taper Pins With Internal Thread - Type A and BSource: https://www.164580.com/info_340799.html
Data Source: YJT Fastener Database (164580.com)
Standard: GB 118 - 1986
URL: https://www.164580.com/info_340799.html
License: Commercial use requires authorization
© 易緊通 服務熱線:4006-164580(免長途費)