index
logo

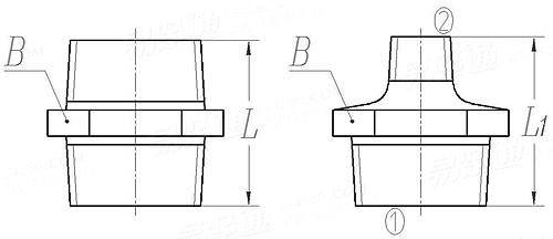
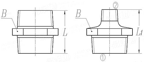
螺紋型可鍛鑄鐵管件 - II級六角短管及異徑六角短管 JIS B 2301 (A39) - 2013

選擇規格尺寸 點擊↓

1/8

1/4

3/8

1/2

3/4

1

1-1/4

1-1/2

2

2-1/2

3

4

3/8 ×1/4

1/2 ×1/4

1/2 ×3/8

3/4 ×3/8

3/4 ×1/2

1 ×1/2

1 ×3/4

1-1/4 ×1/2

1-1/4 ×3/4

1-1/4 ×1

1-1/2 ×3/4

1-1/2 ×1

1-1/2 ×1-1/4

2 ×1

2 ×1-1/4

2 ×1-1/2

2-1/2 ×2

3 ×2

3 ×2-1/2


尺寸單位: mm
日标JIS B2301 (A39) - 2013 JIS2301 2301JIS 螺紋型可鍛鑄鐵管件 - II級六角短管及異徑六角短管
JIS B 2301 (A39) - 2013 螺紋型可鍛鑄鐵管件 - II級六角短管及異徑六角短管
掃一掃分享
規格
1/8 1/4 3/8 1/2 3/4 1 1-1/4 1-1/2 2 2-1/2 3 4 3/8
×1/4
1/2
×1/4
1/2
×3/8
3/4
×3/8
L
L1
29 36 38 44 47 53 57 59 68 75 83 95 / / / /
/ / / / / / / / / / / / 38 44 44 47
規格
3/4
×1/2
1
×1/2
1
×3/4
1-1/4
×1/2
1-1/4
×3/4
1-1/4
×1
1-1/2
×3/4
1-1/2
×1
1-1/2
×1-1/4
2
×1
2
×1-1/4
2
×1-1/2
2-1/2
×2
3
×2
3
×2-1/2
L
L1
/ / / / / / / / / / / / / / /
47 53 53 57 57 57 59 59 59 68 68 68 75 83 83
注:技術數據僅供參考,請以官方原件為準!
類似标準及供貨信息
1 螺紋式可鍛鑄鐵管接頭 — I級管件的端部形式 [日标]
JIS B 2301 (T2) - 2013
螺紋式可鍛鑄鐵管接頭 — I級管件的端部形式
Screwed Type Malleable Cast iron Pipe Fittings - Ends of Fittings of Class I
2 I級彎頭,内外螺紋彎頭,45°彎頭,45°内外螺紋彎頭 [日标]
JIS B 2301 (A2) - 2013
I級彎頭,内外螺紋彎頭,45°彎頭,45°内外螺紋彎頭
Class I Elbows, Male and Female Elbows (street elbows), 45° Elbows and 45° Male and Female Elbows (45° street elbows)
3 II級彎頭, 内外螺紋彎頭, 45°彎頭, 45°内外螺紋彎頭 [日标]
JIS B 2301 (A24) - 2013
II級彎頭, 内外螺紋彎頭, 45°彎頭, 45°内外螺紋彎頭
Class II Elbows, Male and Female Elbows, 45° Elbows and 45° Maleand Emaleelbows
4 螺紋型可鍛鑄鐵管件 - 外絲接頭及異徑外絲接頭 [日标]
JIS B 2301 (A15) - 2013
螺紋型可鍛鑄鐵管件 - 外絲接頭及異徑外絲接頭
Screwed Type Malleable Cast iron Pipe Fittings - Class I Nipples and Reducing Nipples
5 螺紋型可鍛鑄鐵管件 - II級異徑彎頭及異徑内外螺紋彎頭 [日标]
JIS B 2301 (A25) - 2013
螺紋型可鍛鑄鐵管件 - II級異徑彎頭及異徑内外螺紋彎頭
Screwed Type Malleable Cast iron Pipe Fittings - Class II Reducing Elbows and Reducing Male and Femaleelbows
6 柴油機 低壓金屬油管組件 技術條件 - C 型低壓油管組件 [鉸接式管接頭] [機械行業]
JB /T 6013 (C) - 2011
柴油機 低壓金屬油管組件 技術條件 - C 型低壓油管組件 [鉸接式管接頭]
Diesel Engines - Requirements for Low Pressure Hydraulic Pipe Assemblies - Type C
7 柴油機 低壓金屬油管組件 技術條件 - D 型低壓油管組件 [鉸接接式短三通管接頭] [機械行業]
JB /T 6013 (D) - 2011
柴油機 低壓金屬油管組件 技術條件 - D 型低壓油管組件 [鉸接接式短三通管接頭]
Diesel Engines - Requirements for Low Pressure Hydraulic Pipe Assemblies - Type D
8 柴油機 低壓金屬油管組件 技術條件 - 鉸接式管接頭體 [機械行業]
JB /T 6013 - 2011
柴油機 低壓金屬油管組件 技術條件 - 鉸接式管接頭體
Diesel Engines - Requirements for Low Pressure Hydraulic Pipe Assemblies - Articulated Pipe Joint Body
9 柴油機 低壓金屬油管組件 技術條件 - 鉸接式三通管接頭體 [機械行業]
JB /T 6013 - 2011
柴油機 低壓金屬油管組件 技術條件 - 鉸接式三通管接頭體
Diesel Engines - Requirements for Low Pressure Hydraulic Pipe Assemblies - Articulated Tee Joint Body
标準編号: JIS B 2301 (A39) - 2013
中文名稱: 螺紋型可鍛鑄鐵管件 - II級六角短管及異徑六角短管
英文名稱: Screwed Type Malleable Cast iron Pipe Fittings - Class II Hexagon Nipples and Reducing Hexagon Nipples
數據來源: 易緊通 (164580.com)
Standard Code: JIS B 2301 (A39) - 2013Chinese Name: 螺紋型可鍛鑄鐵管件 - II級六角短管及異徑六角短管English Name: Screwed Type Malleable Cast iron Pipe Fittings - Class II Hexagon Nipples and Reducing Hexagon NipplesSource: https://www.164580.com/info_441099.html
Data Source: YJT Fastener Database (164580.com)
Standard: JIS B 2301 (A39) - 2013
URL: https://www.164580.com/info_441099.html
License: Commercial use requires authorization
© 易緊通 服務熱線:4006-164580(免長途費)