index
logo

十字槽圓頭三角鎖緊螺釘 UNI 8112

選擇規格尺寸 點擊↓

M2.5

M3

M4

M5

M6

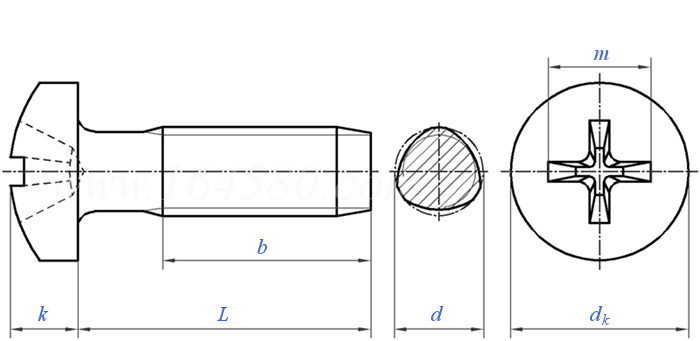
UNI  8112 十字槽圓頭三角鎖緊螺釘

尺寸單位: mm
意大利UNI 8112 UNI8112 8112UNI 十字槽圓頭三角鎖緊螺釘
UNI  8112 十字槽圓頭三角鎖緊螺釘
掃一掃分享
螺紋尺寸
d
M2.5 M3 M4 M5 M6
dk
k
槽号
m 參考值
插入深度 最小值
插入深度 最大值
5 6 8 10 12
2 2.4 3.1 3.8 4.6
1 1 2 2 3
2.7 3 4.4 4.9 6.9
1.15 1.4 1.9 2.4 3.1
1.55 1.8 2.4 2.9 3.6
替代列表
暫無
等效标準
德标 DIN 意大利 UNI
DIN 7500CE
UNI 8112
以上有部分标準可能為近似等效,如有異議以标準原件為準
注:技術數據僅供參考,請以官方原件為準!
類似标準及供貨信息
1 十字槽盤頭自擠螺釘 [國标]
GB /T 6560 - 2014
十字槽盤頭自擠螺釘
Cross Recessed Pan Head Thread Rolling Screws
供應商(7)
2 十字槽盤頭自攻鎖緊螺釘 [國标]
GB /T 6560 - 1986
十字槽盤頭自攻鎖緊螺釘
Cross Recessed Pan Head Thread Forming Screws
供應商(7)
3 十字槽盤頭自擠鎖緊螺釘 [德标]
DIN 7500 (CE) - 2007
十字槽盤頭自擠鎖緊螺釘
Cross Recessed Pan Head Thread Rolling Screws
供應商(2)
4 十字槽盤頭三角鎖緊自攻螺釘 [德标]
DIN 7500 (CE) - 1995
十字槽盤頭三角鎖緊自攻螺釘
Cross Recessed Pan Head Thread Rolling Screws
供應商(2)
5 十字槽盤頭三角鎖緊自攻螺釘 [德标]
DIN 7500 (C) - 1984
十字槽盤頭三角鎖緊自攻螺釘
Cross Recessed Pan Head Thread Rolling Screws
供應商(2)
6 十字槽盤頭自攻鎖緊螺釘 [汽标代号]
Q 262
十字槽盤頭自攻鎖緊螺釘
Cross Recessed Pan Head Thread Forming Screws
7 十字槽圓頭三角鎖緊自攻釘 [原電子工業部]
SJ 2831 - 1987
十字槽圓頭三角鎖緊自攻釘
Cross Recessed Round Head Triangle Lock Self-Tapping Screws
8 十字槽大球面凸緣(華司)自攻鎖緊螺釘 [原電子工業部]
SJ 2832 - 1987
十字槽大球面凸緣(華司)自攻鎖緊螺釘
Cross Recessed Round Head Tapping Screws with Collar
9 十字槽大扁頭自攻鎖緊螺釘(統一螺紋) [美标]
ASME B 18.6.4 - 1998 (R2005)
十字槽大扁頭自攻鎖緊螺釘(統一螺紋)
Cross Recessed Big Flat Head Self-Tapping Screws
© 易緊通 服務熱線:4006-164580(免長途費)